山東萬象環境科技有限公司
聯系人:周經理
銷售電話:19853697985
銷售QQ:3836021633
公司地址:山東省濰坊高新區新城街道玉清社區光電路155號濰坊高新區光電產業加速器(一期)1號樓301

聯系人:周經理
銷售電話:19853697985
銷售QQ:3836021633
公司地址:山東省濰坊高新區新城街道玉清社區光電路155號濰坊高新區光電產業加速器(一期)1號樓301

浮標水質在線監測站又稱浮標水質監測站,水質浮漂監測站,浮標水質在線監測站搭載了高精度的水質傳感器,能夠精準捕捉水質各參數變化情況,確保監測數據的準確性和可靠性,可應用在工農業生產、旅游、城市環境監測、地質災害、防洪、供水調度、電站水庫水情管理等為目的水文自動測報系統
1.水質浮漂監測站SFA集數據采集、存儲、傳輸和管理于一體的無人值守的采集系統。它在工農業生產、旅游、城市環境監測、地質災害、防洪、供水調度、電站水庫水情管理等為目的水文自動測報系統;功能強大的上位機軟件可遠程觀測實時水雨情信息,具有數據庫、報表、下載等功能,用戶還可利用該功能完善的氣象軟件對記錄的數據作進一步的處理分析。
2.SFA04款浮標是由水質傳感器(水溫、電導率、PH、溶解氧)、數據采集儀、通訊系統、供電系統、整體 支架、水質監測平臺六部分組成。同時可擴展氨氮、 濁度、COD等多項水質要素。數據采集儀具有數 據采集、實時時鐘、數據定時存儲、參數設定和標準2G/4G(GPRS)通信功能。
二、產品特點
1.易部署:各類型探頭進行高度集成,安裝方便;提供免費云平臺服務,系統快速上線;
2.易維護:設備安裝后,自行工作即可,無需人工值守,也可以通過遠程監控的方式保障設備的正常運行;
3.易擴展:傳感器探頭均使用統一的通信協議,可以快速對接原設備,快速擴展監測參數;
4.低功耗:設備可以實現低功耗狀態下,長時間運行,增加設備使用的便利性;
5.實時性:設備監測到的數據實時傳輸至云平臺,提升環境數據反饋的及時性。
三、技術參數
1. 主體參數
產品名稱 | 描述 |
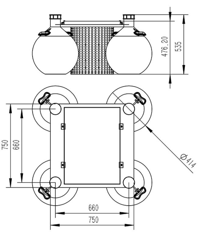
環境水質監測浮標 | 可實時實現多路參數在線監測。 可實現電池電量監控。 可實現云平臺數據監控、數據推送、 數據的存儲和報警功能;數據的無線發射功能。 峰值功耗為 5W;傳感器功耗 0.25W左右/只。 外形尺寸:750mm*750mm*535mm。浮球直徑414mm 重量:22kg |
采集器數據采集 | 運行可靠,抗干擾,可集成多路RS485/MODBUS-RTU 從站設備 |
采集器數據輸出 | 1 路 Rs485/JSON協議輸出 |
電池 | 鋰電池 12VDC,20AH(默認) |
太陽能電池板 | 22.1V/50W(默認) |
供電能力 | 定制選型;陰雨天間歇工作 5天以上 |
位置指示 (選配) | 警示燈;GPS 定位; |
監測平臺 | 云平臺;手機/電腦多終端登錄 |
防護罩 | 304 不銹鋼濾筒防護罩 |
浮體 | 直徑414mm 球形浮體*4工程塑料 |
2.可選配傳感器的主要參數
| 序號 | 名稱 | 測量范圍 | 測量原理 | 測量精度 | 是否標配 | 備注 |
| 1 | 溫度 | 0~50℃ | 高精度數字傳感器 | ±0.3℃ | ? | |
| 2 | pH | 0~14(ph) | 電化學(鹽橋) | ± 0.1PH | ? | |
| 3 | ORP | -1500mv~1500mv | 電化學(鹽橋) | ± 6mv | ||
| 4 | 電導率 | 0~5000uS/cm | 接觸式電極法 | ± 1.5% | ? | |
| 5 | 濁度 | 0~40NTU(低濁) | 散射光法 | ± 1% | 低濁可定制 | |
| 0~1000NTU(中濁) | 散射光法 | ± 1% | 中濁可定制 | |||
| 0~3000NTU(高濁) | 散射光法 | ± 1% | 默認發 | |||
| 6 | 溶解氧 | 0~20mg/L | 熒光壽命法 | ± 2% | ? | |
| 7 | 氨氮 | 0~100mg/l | 離子選擇電極法 | ±1mg | ||
| 8 | cod | 0~500mg/ L | UV254 吸收法 | ±5% | 默認發、cod濁度一體 | |
| 濁度 | 0~400NTU | 散射光法 | ± 1% | |||
| 9 | 懸浮物 | 0~2000mg/L | 散射光法 | ±5%(取決于污泥同質性) | ||
| 10 | 葉綠素 | 0~400ug/L | 熒光法 | R2>0.999 |
四、產品尺寸圖

五、設備安裝要求
1.遠離大功率無線電發射源
2.遠離高壓輸電線和微波無線電傳送通道
3.盡量靠近數據傳輸網絡
4.遠離強電磁干擾
六、云平臺介紹
1.CS架構軟件平臺,支持手機、PC瀏覽器直接觀測.無需額外安裝軟件。
2.支持多帳號、多設備登錄
3.支持實時數據展示與歷史數據展示儀表板
4.云服務器.云數據存儲,穩定可靠,易于擴展,負載均衡。
5.支持短信報警及閾值設置
6.支持地圖顯示、查看設備信息。
7.支持數據曲線分析
8.支持數據導出表格形式
9.支持數據轉發,HJ-212協議,TCP轉發,http協議等。
10.支持數據后處理功能
11.支持外置運行javascript腳本
WX-QSZ04水質自動監測站是集自動化、智能化于一體的水質監測體系。它不再依賴于傳統的人工采樣與實驗室分析,而是通過高精度的傳感器網絡和智能算法,實現對水體中多項指標的實時監測,包括但不限于PH、溫度、濁度、電導率、溶解氧、COD、氨氮、懸浮物、總氮等關鍵參數。這些技術革新,不僅大幅提高了監測效率,更確保了數據的準確性和時效性,為環境管理部門提供了科學的決策依據。...
WX-SS7便攜式電導率測定儀的核心在于其高精度的電導率傳感器和智能化的數據處理系統。傳感器能夠實時測量水體的電導率,反映水中溶解性鹽類的含量,從而間接評估水質的純凈度和污染程度。數據處理系統則能夠對測量數據進行快速分析和處理,為用戶提供直觀的水質監測結果。便攜式電導率測定儀廣泛應用于環保、水利、農業、食品等多個領域。在環保領域,它可用于監測河流、湖泊、水庫等水體的水質狀況,為環境保護提供科學依據。...
WX-SZFB03浮標水質在線監測站是一款將浮標設備放置在水上,實時監測水質信息的設備,外形為360°圓形平臺,上面搭載太陽能板,是一項先進的水質監測技術。這一系統的現場無人監控自動運行,具有開放性,用戶可根據需要自行設置有關參數,具備良好的擴展性。它能夠根據實際生活的需求,應對不時之需。...
WX-SFA05浮漂式水質監測系統利用先進的傳感器技術和遠程通信技術,能夠實現對水質的實時監測。這意味著,系統能夠連續、不間斷地收集水質數據,包括水溫、電導率、PH、溶解氧、氨氮等關鍵指標。這種實時監測的方式,大大提高了監測效率,使得管理人員能夠迅速掌握水質動態,及時作出響應。相比之下,傳統的人工采樣和實驗室分析方式,從采樣到獲取結果往往需要數小時至數天的時間,難以及時反映水質的快速變化。...
WX-S15S熒光法葉綠素在線傳感器是一種能夠實時監測植物葉綠素含量的高科技設備。它通過測量植物葉片在特定波長下的熒光信號,準確評估葉綠素的含量和分布。這種非接觸、無損傷的監測方式,不僅提高了測量的準確性和效率,還大大減輕了農業工作者的勞動強度。葉綠素是植物進行光合作用的關鍵色素,其含量直接影響到植物的生長和產量。...
WX-QSZ07在線多參數水質監測系統能夠24小時不間斷地監測水質,確保數據的實時更新。同時,該系統采用先進的傳感器技術和數據處理算法,能夠準確測量多種水質參數,如pH值、溶解氧、濁度、電導率等,大大提高了數據的準確性。除了實時監測和數據準確性外,在線多參數水質監測系統還能夠同時監測多種水質參數。這意味著,通過一臺設備,我們就可以全面了解水質狀況,無需再使用多臺單一參數的監測設備。...